產品介紹
咨詢服務熱線:13957717877
產品概述
資料下載
相關產品
相關資訊


為什么選擇ZGS13-H 組合式變壓器(光伏美變)? |
該產品通過高度集成化設計解決了傳統變壓器占用空間大、安裝復雜的問題,同時具 備較強的環境適應性和安全性能,能夠滿足新能源領域及復雜用電場景對設備可靠性、 經濟性的綜合需求。其符合多項國家標準,保障了產品質量與長期運行的穩定性。 |
ZGS13-H 組合式變壓器(光伏美變)產品優勢: |
1、空間效率高:緊湊外形適用于空間受限的安裝場景。 |
2、廣泛適用性:兼容光伏發電、風力發電等新能源領域,并適用于工業園區、商業中心 、居民小區等多樣化場景。 |
3、嚴苛環境耐受:通過防震、防污穢及寬溫濕度設計,保障在惡劣環境中持續穩定運行 |
4、標準化生產:嚴格遵循國家標準,產品性能與安全性。 |
ZGS13-H 組合式變壓器(光伏美變)產品特點: |
1、高度集成:變壓器、開關設備及保護元件均集成于油箱內,結構緊湊,減少外部連接 ,提升可靠性。 |
2、環境適應性強:可在海拔≤5000米、環境溫度-40℃至+40℃、高濕度(日平均≤95 %)、強風速(≤45m/s)及高污穢等級(IV級)條件下穩定運行。 |
3、安全可靠:全絕緣設計及內置熔斷器提供過載與短路保護,符合多項國家及行業標準 (如GB 1094、JB/T 10217等)。 |
4、維護簡便:模塊化設計簡化了日常檢查與維護流程,降低長期運營成本。 |
ZGS13-H 組合式變壓器(光伏美變)產品應用: |
ZGS13-H 組合式變壓器主要應用于: |
1、光伏發電站、風電場等新能源電力升壓與配送; |
2、工業園區、城市配網、高層建筑及商業中心的電力供應; |
3、其他需要緊湊型、高可靠性變壓器的場合。 |

ZGS13-H 組合式變壓器(光伏美變)型號說明: |
|
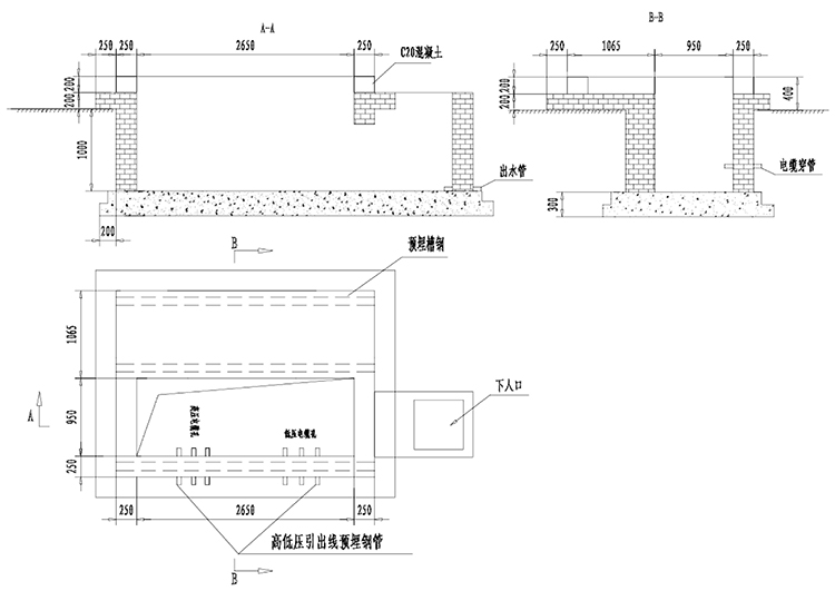
ZGS13-H 組合式變壓器(光伏美變)安裝基礎圖: |
|
ZGS13-H 組合式變壓器(光伏美變)技術參數: |
額定 容量 (kVA) | 電壓組合 | 聯結 組標號 | 空載 損耗 | 負載 損耗 | 空載 電流 | 短路 阻抗 | ||
| 高壓 | 低壓 | 分接范圍 | ||||||
630 | 35 36 36.75 37 | 0.4 0.5 0.54 0.6 0.63 0.69 0.8 0.95 | ±2×2.5% | Dy11 [光伏] Yd11 [光伏] Dyn1l [風電] Dy11y11 [光伏] Yd1ld11 [光伏] | 830 | 7860 | 0.65 | 6.5 |
800 | 980 | 9400 | 0.65 | |||||
1000 | 1150 | 11500 | 0.65 | |||||
1250 | 1400 | 13900 | 0.60 | |||||
1600 | 1690 | 16600 | 0.60 | |||||
2000
| 1990 | 19700 | 0.55 | |||||
2200
| 2145 | 21080 | 0.55 | |||||
2500
| 2360 | 23200 | 0.55 | |||||
2750 | 2535 | 25000 | 0.55 | |||||
2800 | 2570 | 25260 | 0.55 | |||||
2900 | 2650 | 26000 | 0.55 | |||||
3150 | 2810 | 28800 | 0.55 | |||||
3300 | 2910 | 29825 | 0.50 | 7.0 | ||||
3400 | 2976 | 30500 | 0.50 | |||||
3500 | 3041 | 31170 | 0.50 | |||||
3600 | 3106 | 31835 | 0.50 | |||||
下一個:BS光伏華變
優惠券
我們的微信
13957717877
13957796089